花几百块买塑身衣,是变美还是交智商税?
曲线主义塑身衣销量神话
刷短视频、逛电商,谁没刷到过曲线主义的广告?“一提就有S腰”“强收腹+强提臀”,“日常就能塑形”,再加上张雨绮、宋茜这些大明星站台,曲线主义的塑身衣,直接成了很多女生的“救急神器”——毕竟谁都想不节食、不运动,就能轻松拥有好看的曲线呢。
数据显示,2023年,曲线主义在天猫618塑身美体服饰中销量TOP1,2022-2023年累计销售超34万件,累计GMV超4300万元。仅核心单品“云朵裤”,上线第一天就卖了100多万元。
销量惊人,再加上“收腹提臀裤中国第一品牌”“荣获多项国际设计大奖”等各种亮眼头衔,不少女生二话不说就下单了。
打假人刘江公开质疑
今年3月,职业打假人刘江在社交账号对曲线主义的专利、荣誉、商标、代言等关键点公开发出质疑。
刘江干打假这行15年了,涉及上百起虚假宣传、假冒伪劣的案子,不少知名品牌都在他手里栽过。他的这次发声,不光把曲线主义推上了风口浪尖,也让不少买过的女生慌了:我花几百块买的“塑形神器”,到底是真好用,还是被忽悠了?
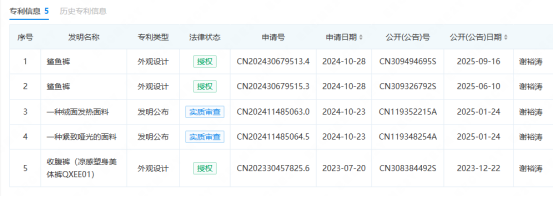
刘江首先质疑的,就是曲线主义的“64项专利”。根据国家知识产权局官网,查到的有效授权专利,仅有1项为外观设计,与“塑形、燃脂”等功能无关。
需要说明的是,申请专利不代表获得专利授权,专利申请号是禁止拿来作宣传的。2022年,“青蛙王子”一款儿童护理乳因将“申请中的专利”吹成“授权专利”,被处以5000元罚款。
企查查数据显示,曲线主义母公司杭州魅力曲线网络科技有限公司共申请了5个专利,其中3个外观专利获得授权,另外2个发明专利还在实质审查阶段。
当然,曲线主义宣传的相关专利并非必须自己申请,通过第三方授权使用亦是可行的。
不过,《广告法》第十二条第一款规定,广告中涉及专利产品或者专利方法的,应当标明专利号和专利种类,而曲线主义的宣传页面宣称“64项专利”,却不标识相应的专利信息,仅违规标识4个不允许用于宣传的专利申请号,显然是涉嫌违法宣传专利。
第二个疑问,就是它天天挂在嘴边的“中国领先”“中国第一品牌”“用户首选品牌”。广告法中明确规定了,广告里不能使用“国家级”“最高级”“最佳”以及与其含义相同或者近似的其他用语。
对此,清扬君认为,如果曲线主义有权威的数据来源,是可以如实宣传的。不过,有不少调查评测机构热衷于给各大企业认定各种“第一”,只不过为这个“第一”加上各种所谓细分类目的定语,反而使其失去了原本应有的权威性。
4月8日,当清扬君舆情分析中心以消费者身份咨询天猫平台曲线主义旗舰店官方客服,希望获取曲线主义晒出的相关荣誉证书清晰页面,以了解发证方信息,却得到了“宝子,这个没有呢”的回复。
打假人刘江质疑的第三项“国际大奖”问题,是曲线主义说自己拿了“2024年巴黎设计奖”“法国DNA设计奖”“美国好设计奖”“伦敦设计奖”。但刘江查了国际上那些权威奖项的官网的获奖名单,根本找不到相关信息。
根据《广告法》第二十八条,广告有下列情形之一的,构成虚假广告:商品或者服务不存在的;商品的性能、功能、产地、用途、质量、规格、成分、价格、生产者、有效期限、销售状况、曾获荣誉等信息与实际情况不符,对购买行为有实质性影响的。
根据《广告法》第五十五条,发布虚假广告的,可处广告费用5倍以上10倍以下罚款;无法计算广告费用的,处100万元以上200万元以下罚款,情节严重的可吊销营业执照。
所以,曲线主义很有必要回复刘江的质疑。
第四个疑问是它的商标问题。在国家知识产权局商标局中国商标网查询曲线主义两款核心商品:曲线主义云朵裤和曲线主义云朵连体衣,发现这两个商标申请在2024年11月就被驳回了,现在状态是“无效”。
商标无效,就意味着这个牌子没资格独占这个名字,随时可能被人起诉侵权,甚至被抢注,这对一个品牌来说,简直是灭顶之灾。可曲线主义明明知道自己商标有问题,还照样大规模卖货。
第五个疑问是代言问题。其实曲线主义能火得这么快,离不开张雨绮、宋茜这两位大明星的代言。说实话,很多女生买它,就是因为“明星都穿了,肯定靠谱”。但咱们要知道,如果最后查出曲线主义确实虚假宣传,代言明星也得承担责任。违法代言行为在《广告法》中有明确法律规定:涉事明星将面临没收违法代言所得,并处违法所得一倍以上二倍以下罚款,以及三年内不得从事广告代言活动的处罚。这一规则已有明确的行政执法先例:2022年,演员景甜因违法代言普通食品,被依法罚没合计超722万元;同年,演员潘粤明因违法代言保健食品,被处罚款51.6万元,两起案件均成为明星违法代言追责的典型案例。
截止发稿,曲线主义仍未正面回应刘江的5大质疑。
文章来源:清扬君 原文链接:https://mp.weixin.qq.com/s/Z0qjTKknTU4n5GQccxF4_w

